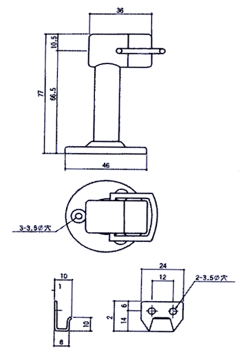
簡易戸当り・床下用
材 質  SUS-304
仕 上  ヘアーライン
機 能  木捻子止メ
入 数  20-200SET入

戻る