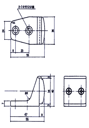
ダイカスト戸当り
材 質  ダイカスト
仕 上  サーチライト色(W色)
付属品  5.8φ×35o 皿プラスネジ 2ヶ
14×32 カールプラグ 2ヶ
入 数  10-100SET入

戻る